库房主要功能:库房预警、入库管理、订单出库、出库管理、报损报溢、库存盘点、原料分割、分割记录、货架管理、当前库存、仓库档案、仓管人员、库房设置等
库房预警

入库管理

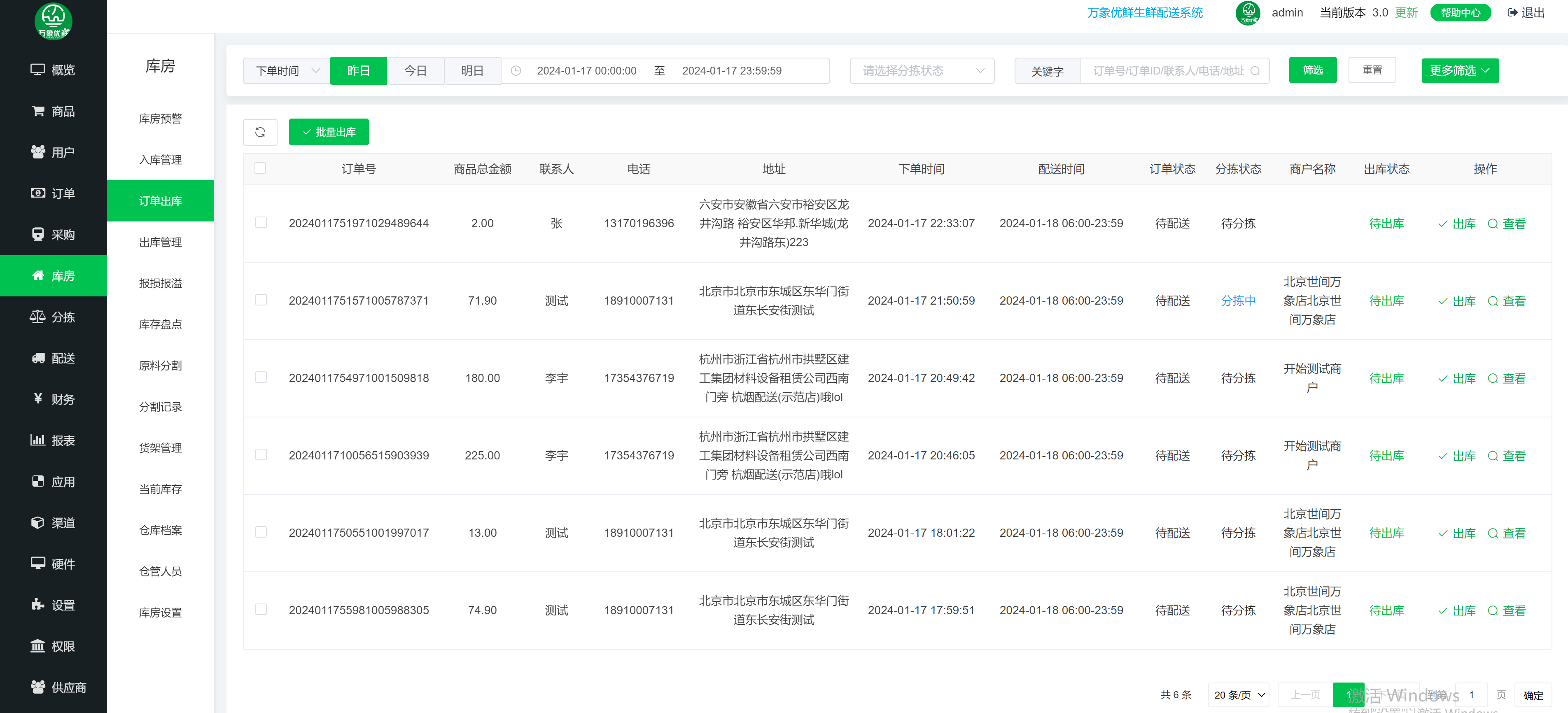
订单出库

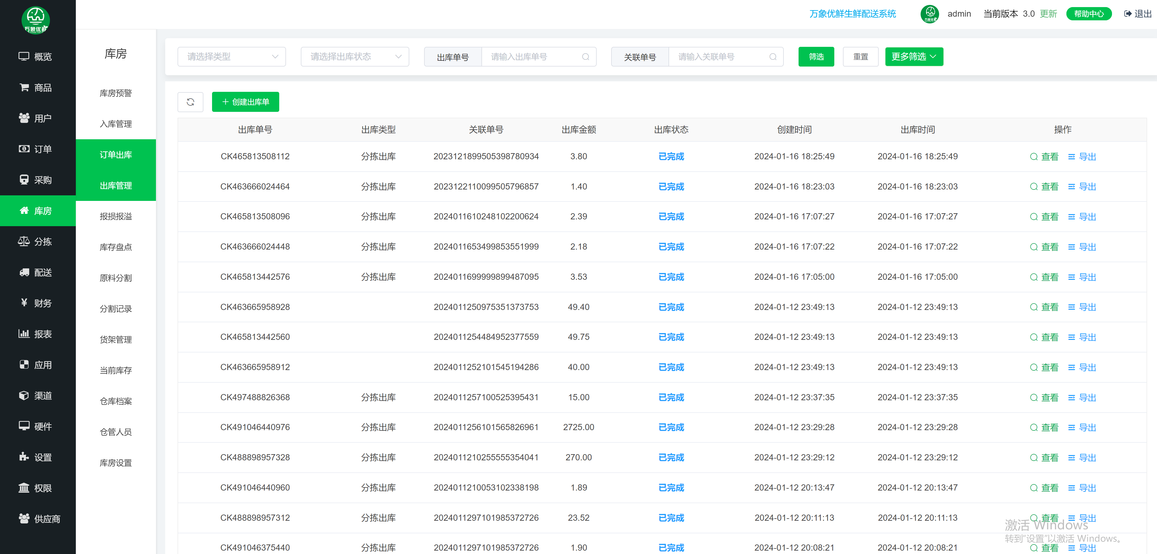
出库管理

报损报溢

库存盘点

原料分割

分割记录

货架管理

当前库存

仓库档案

仓管人员

库房设置

库房预警中可以看到临期商品预警、库存不足、库存溢出
入库管理中可以看到对应的入库类型和关联的单号,关联单号是指在对应类型下的单号,例如:关联类型是报溢入库,关联的单号就是报损报溢里面对应订单的单号。
出库管理,因其他原因想要出库商品的,可以从出库管理的创建出库单达到
报损报溢,库房中有商品出现损坏或者多出来的商品时,可以进行报损出库或者报溢入库,已达到调整库存的效果
库存盘点,库房某样商品需要盘点更新库存时,在这里可以进行快速盘点和创建盘点单
原来分割,创建分割方案,选择需要分割的商品,并且选择分割后的商品
当前库存,可以看到当前库房所有商品的库存
上一篇:暂无
下一篇:入库管理