主页
核心功能
功能介绍
案例中心
客户案例
定制案例
产品新闻
公司新闻
行业新闻
功能更新
代理加盟
产品价格
定制开发
关于我们
关于我们
联系我们
加入我们
公司地址
帮助中心
系统白皮书
演示中心
万象优鲜生鲜配送系统- 生鲜配送系统源码 生鲜批发百货配送系统商城相关演示地址及账号
后台管理演示
演示网址
账号
密码
https://line.sjwxsc.com
admin
123456
移动端二维码演示
小程序演示码
公众号演示码
主页
>
关于我们
>
帮助中心
>
配送
<< 点击返回公司新闻列表
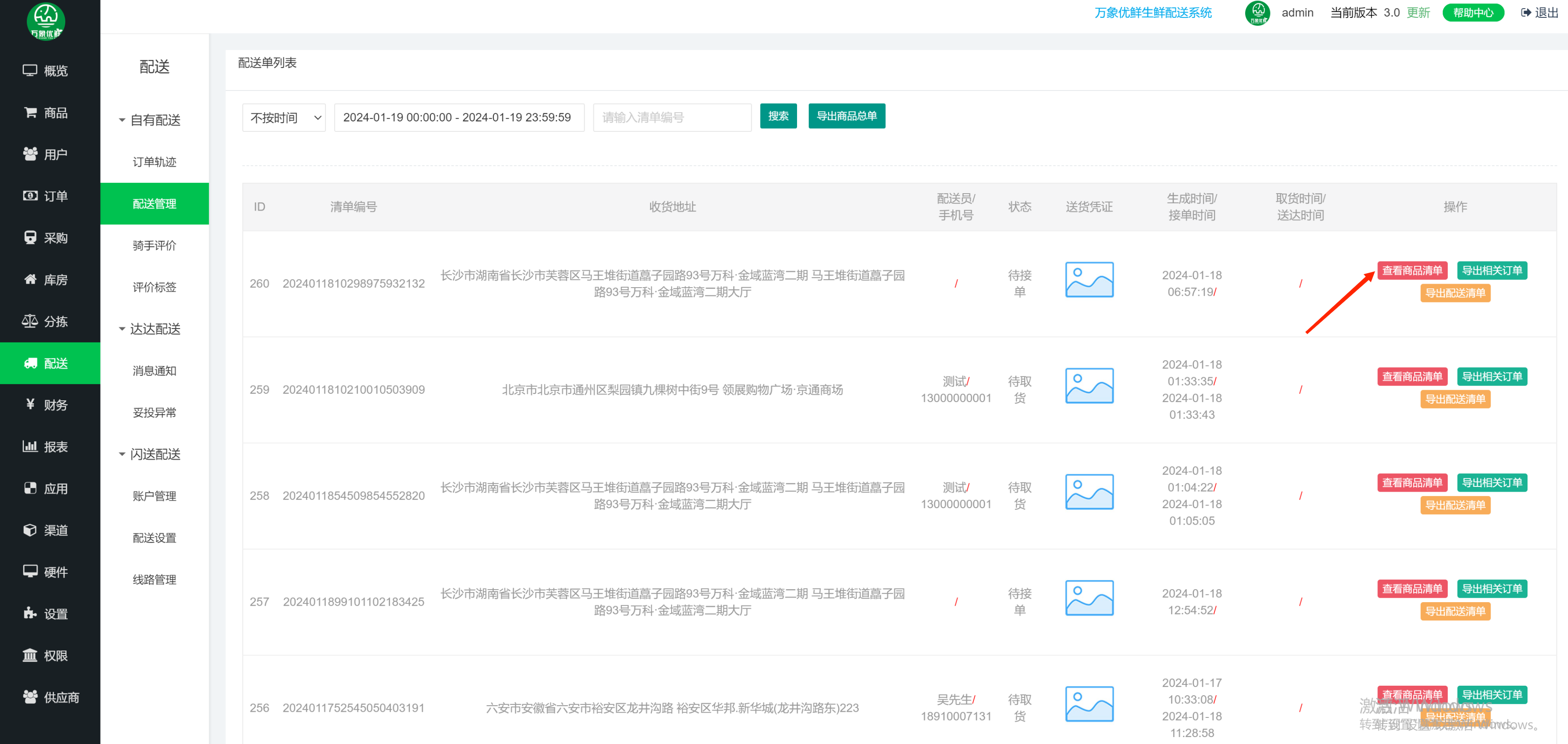
配送单生成
浏览量 946
时间 2023-05-10
客户下单以后会生成配送单 可以查看配送状态 骑手送达可以拍照上传(已送达凭证)
查看商品清单
导出清单是以表格的形式
导出配送清单
导出相关订单
上一篇:订单轨迹
下一篇:配送线路
推荐阅读
关于网上攻击公司服务器盗取源代码立案通告
2022-11-01
19500
关于网上攻击公司服务器盗取源代码立案通告...
为什么生鲜配送要用专业的万象生鲜配送系统 里
2021-06-23
181
大部分生鲜配送企业已经用上了万象生鲜配送系统,在人工智能化的现代社会,利用数据算法来处理生鲜配送中存在的问题,可以大大提高企业的配送效率。那么选择生鲜配送系统就是...
万象优鲜:新零售时代,生鲜配送还能这么做!
2021-06-23
176
生鲜配送公司,跟大多数传统企业一样,都是要优先做好消费者的服务工作。生鲜配送公司在今年疫情期间,发展很迅速,这也就吸引了很多创业者,想要开始从事这一行。 新零售时代...
万象优鲜生鲜配送SAAS系统是什么?
2021-06-11
61
我国生鲜配送市场是一个价值百亿的超级市场,目前已有的生鲜配送只占据市场的三分之一,还存在三分之二未开发,很多投资者看中了生鲜配送这巨大的前景,纷纷投入到生鲜配送行...
万象优鲜生鲜配送系统app开发
2021-06-11
134
生鲜配送系统app开发,生鲜配送系统app开发详情,生鲜配送系统app开发案例,生鲜配送系统app开发源码,生鲜配送系统app开发讲解,生鲜配送app开发介绍,生鲜配送app开发怎么样,生鲜...
生鲜配送系统哪家好?万象优鲜带你了解生鲜配
2021-06-07
60
根据国家统计局发布数据显示,中国餐饮业正式迈入四万亿市场。作为生鲜配送企业最重要的客户群体之一,餐饮行业的发展,将持续拉动生鲜配送行业的转型和升级。而餐饮和生鲜必...
万象优鲜生鲜蔬菜配送系统软件/小程序开发
2021-06-07
61
为了迎合移动数字化的发展趋势,很多行业都有了相应的APP来帮助相关行业完成转型,其中生鲜蔬菜配送系统软件开发正是很多开发商倾向的营销方式,生鲜蔬菜配送系统软件也使得生...
万象优鲜生鲜配送系统功能介绍
2021-06-04
200
...
免费体验万象优鲜生鲜配送系统- 生鲜配送系统源码 生鲜批发百货配送系统商城后台管理系统
立即体验
https://affim.baidu.com/unique_44286122/chat?siteId=18622365&userId=44286122&siteToken=f64cd86a943adb65f92d000df4d32072